Google Project Glass to unlock with a roll of your eyes
An eye-tracking patent has just been granted to Google for a certain pair of glasses – 2014 has never seemed so far away

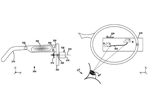
Google Project Glass, the smart glasses shown off at Google I/O, could be unlocked using a simple roll of the eyes. A recent patent for eye-tracking in glasses has been awarded to Google, and though it doesn’t say for what, it’s doesn’t take a huge leap of faith to pair the two.
It’s just one more thing that makes us hate waiting till 2014 to get our hands on this awesome bit of pioneering tech. Frankly we expected to have heads-up-display contact lenses by then – and use them to control our hover cars. But in lieu of having US$1500 to drop on a dev sample, we’ll just have to hold out until we can exercise our retinal muscles with something other than 12-hour gaming sessions.
You may also like
Nina brings Siri-style security to apps
Amazon Game Studios becomes official
Exclusive – iPhone 5 to be released on September 21st