Apple wireless charging patent hints at cable-less future
It may be a way off but Apple could be planning a wireless charging future for future products
Apple has held off on introducing wireless charging to its kit – but it could be planning to do away with wires, assuming a patent filed in May of 2010 turns out to be more than just a pipedream.
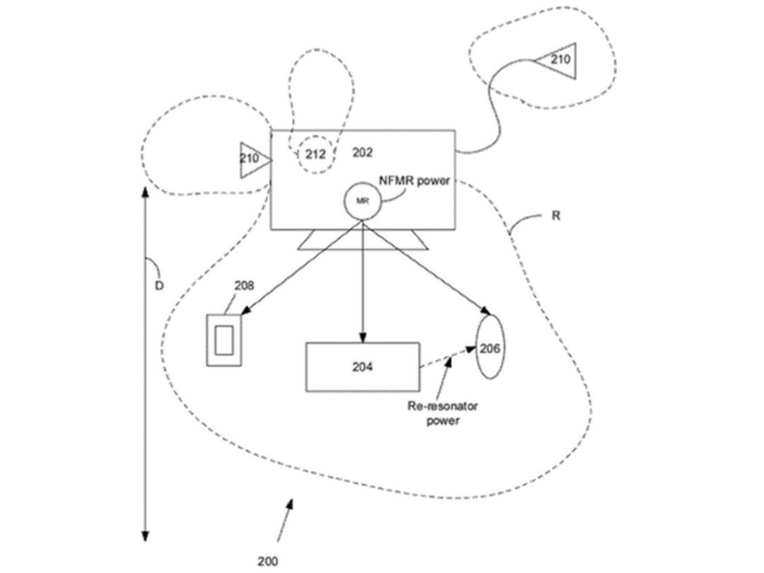
The patent above deals with the technology of wirelessly charging gadgets within a ‘local computing environment’ – that means your mouse, keyboard and perhaps any other Apple products you have within a metre range. Basically, a power supply with near field magnetic resonance (NFMR) emits electrical current that can be utilised by devices that have a NFMR resonator built in.
As with any patent, this could just be Apple safe-guarding a technological avenue should it decide to take wireless charging seriously at a later date – which it may well do if the alternative system found in the Nokia Lumia 920 and Google Nexus 4 takes off. It could also, of course, be a mark of things to come. Maybe the iPhone 6 will do away with wires altogether? We can only dream.
Today’s main stories
Stuff Office Cat’s Diary – 03/12/12
Sony patent reveals DualShock and Move wand hybrid controller
Turn your Retina Display into a CRT monitor with the Blinky text editor
