iPhone 5 haptic feedback may feel like virtual buttons
Apple can’t just add haptic feedback, can it? It has to one-up everyone with piezoelectric actuators. Baffled? Read on for revelations

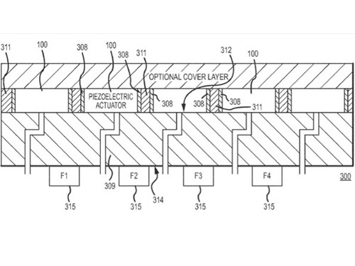
Apple has filed a patent for a haptic feedback system that could create a feeling of virtual buttons on its touchscreen devices like the iPhone 5, leaving us virtually wetting our drawers.
Current haptic feedback on phones like the HTC Sensation XE or Galaxy Nexus offers a gentle handset vibration when a button is pressed. Apple plans to go further and use piezoelectric actuators – which create lots of little specific vibrating regions – to give the feeling of virtual buttons.
This is totally separate to the Senseg Feel technology rumoured to appear on the iPad 3, which delivers sensations of textures using an electric field. Or it would be if it ever appeared.
So will we see haptic feedback in the iPhone 5 when it lands this summer? Since the patent was just made public it would be fair to assume Apple’s doing some subtle marketing ahead of its launch. But puppet master Apple could equally be pulling our strings. Either way this kind of technology may arrive one day and that’s enough to get excited about.
You may also like
Windows 8 will support tablets with Retina Display-beating resolutions
Viral of the week – world’s first augmented reality hotel
Next Big Thing – interplanetary internet